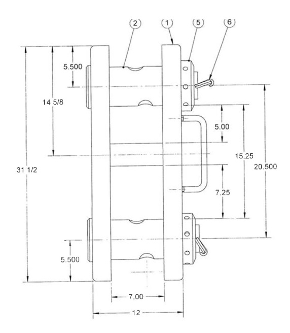
ALCO ELEVATOR LINK CONNECTOR ASSEMBLY, 500 TON RATED PART NUMBER: BC-500SERIAL NUMBER: 36689 CONDITION: BRAND NEWYOM: 2025ORIGIN: CANADA Post Views: 211
ALL TUBULAR RUNNING SERVICES HYDRATONG MPT CASING TONG W/ BACKUP, DRESSED WITH 5-1/2″ – 7-5/8″ JAWS – FARR. MODEL: KT 7585